储气罐
ASME容器
压力罐
不锈钢储气罐
不锈钢容器
定制罐
网站地图
EN
安全用气 始于海空
--since1996--
首页
关于海空
公司简介
公司优势
发展历程
合作伙伴
产品中心
按标准分类
按材质分类
按检验分类
按压力分类
按外型结构分类
按介质分类
应用领域
新闻中心
公司新闻
行业资讯
实力展示
生产设备
检验设备
档案
下载中心
联系我们
联系方式
销售网络
加入我们
✕
首页
关于海空
公司简介
公司优势
发展历程
合作伙伴
产品中心
按标准分类
按材质分类
按检验分类
按压力分类
按外型结构分类
按介质分类
应用领域
新闻中心
公司新闻
行业资讯
实力展示
生产设备
检验设备
档案
下载中心
联系我们
联系方式
销售网络
加入我们
当前位置:
首页
»
下载中心
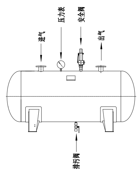
» 储气罐安装示意图
产品中心
PRODUCTS CENTER
按标准分类
GB150标准储罐
ASME标准储罐
PED标准储罐
按材质分类
不锈钢储罐
碳钢储罐
内衬不锈钢储罐
按检验分类
免检储罐
需报检储罐
按压力分类
低压储罐
中压储罐
高压储罐
按外型结构分类
立式储罐
卧式储罐
分气包/缸
按介质分类
空气储罐
蒸汽储罐
氮气储罐
氧气储罐
水罐
真空罐
选择产品
按标准分类
GB150标准储罐
ASME标准储罐
PED标准储罐
按材质分类
不锈钢储罐
碳钢储罐
内衬不锈钢储罐
按检验分类
免检储罐
需报检储罐
按压力分类
低压储罐
中压储罐
高压储罐
按外型结构分类
立式储罐
卧式储罐
分气包/缸
按介质分类
空气储罐
蒸汽储罐
氮气储罐
氧气储罐
水罐
真空罐
服务热线:
您对我们的产品与服务有任何问题,请用以下方式与我们联系:
7*24小时热线服务
0532-66997208
qdhaikong@haikong.cn
何处购买
应用领域
>更多案例
销售支持
>进入
储气罐安装示意图
结构1
结构2
结构3
上一篇:
不锈钢&碳钢简单压力容器参数
下一篇:暂无